
- VIP
Договорная
Фасадные кронштейны
Все виды фасадных кронштейнов в наличии 🔥🔥🔥
Все виды фасадных кронштейнов в наличии 🔥🔥🔥Вход•Регистрация
+996 508 022 0xx
Длина вылета, см:
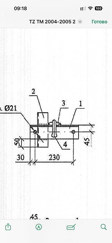
Кронштейн оттяжки для опор ЛЭП (якорный/угловой узел)
Назначение:
- Крепление оттяжек на железобетонных и деревянных опорах воздушных линий электропередачи.
- Применяется на прямолинейных, угловых и анкерных участках ВЛ для восприятия продольных и поперечных нагрузок провода/троса.
Состав узла:
- П-образный/угловой стальной кронштейн с монтажными отверстиями.
- Серьга/скоба с фиксатором для присоединения тяг (талреп, трос, канат).
- Око римерное (ушко) под шплинт/палец.
- Крепежные отверстия под болты/анкеры.
Материал и исполнение:
- Прокатная сталь, сварная конструкция.
- Антикоррозионное покрытие (грунт-эмаль/окраска).
- Детали с маркировкой по ТЗ ТМ 2004–2005 (габариты на чертеже: длина базы 230 мм, площадка 50×30 мм, полка 45 мм; отверстия Ø21 мм).
Особенности:
- Усиленная геометрия, рассчитана на восприятие значительных растягивающих усилий от оттяжек.
- Монтаж на опоре через сквозное крепление; присоединение оттяжки через серьгу/палец с возможностью шплинтовки.
- Совместимость с типовыми линейными арматурами ВЛ 0,4–10 кВ (крюки, серьги, талрепы, изоляторные подвески).
Область применения:
- ВЛ электропередачи, распределительные сети, подъездные линии к предприятиям и сельским населенным пунктам.
- Реконструкция и новое строительство линий, усиление опор на углах поворота трассы.
Комплектация на фото:
- Партия стальных кронштейнов оттяжки с пальцами/серьгами.
- Отдельные элементы (ушко с маркировкой SP-7-16).
- Чертеж с основными размерами для привязки на опоре.
Дополнительно:
- Возможность использования как базового анкера под траверсы, расчалки и раскосы на опорах.
Договорная
Был(а) в сети 6 ч. назад
Отвечает на 60% сообщений Обычно в течение дня

Договорная
Фасадные кронштейны
Все виды фасадных кронштейнов в наличии 🔥🔥🔥
Все виды фасадных кронштейнов в наличии 🔥🔥🔥
Договорная
Фасадные кронштейны
Кронштейны монтажные стальные для фасадных подсистем/крепления
Кронштейны монтажные стальные для фасадных подсистем/крепления конструкций. Описание: - Материал: оцинкованная сталь. - Тип: Г‑образные/П‑образные кронштейны с продолговатыми монтажными отверстиям...
Договорная
Фасадные кронштейны
Кронштейны-анкера для крепления металлических/сэндвич‑контейнеров и
Кронштейны-анкера для крепления металлических/сэндвич‑контейнеров и блочно‑модульных сооружений к фундаменту Назначение: - Жесткое крепление модульных зданий, бытовок, КТП, блок‑контейнеров к бето...
Договорная
Фасадные кронштейны
Все виды фасадных кронштейнов в наличии 🔥🔥🔥
Все виды фасадных кронштейнов в наличии 🔥🔥🔥
Договорная
Фасадные кронштейны
Кронштейн для фасадного остекления и NOVO METALL 120 - Назначение
Кронштейн для фасадного остекления и NOVO METALL 120 - Назначение: крепление фасадных и вентиляционных кассет, панелей и подсистем навесных вентилируемых фасадов, остекления, панорамных окон и др....
Договорная
Фасадные кронштейны
Комплект деталей для монтажа и виброизоляции Состав: - 3
Комплект деталей для монтажа и виброизоляции Состав: - 3 цилиндрических виброопоры/демпфирующие втулки из плотной резины/полиуретана разного диаметра и высоты. Внутреннее осевое отверстие под креп...
Договорная
Фасадные кронштейны
Стык подкосы, хомуты и траверсы, лежка привод. в наличии и на заказ
стык подкосы, хомуты и траверсы, лежка привод. в наличии и на заказ любой сложности
Договорная
Фасадные кронштейны
Строительство, витражи по алюминиевые конструкции сделаем любое
Строительство, витражи по алюминиевые конструкции сделаем любое сложности фасады, есть опыт и бригада, Марат , звоните любое время.